![]()
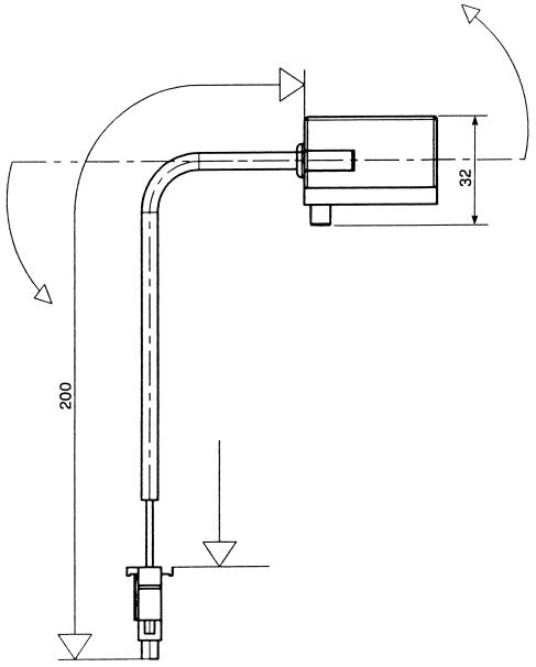
5 INCLINATION MEASURES
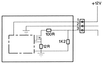
-NOMINAL POWER SUPPLY: 12V
-MAX LOAD CURRENT: 15 mA MAX (a12 V)
-MAX LOAD CURRENT: 50 mA
-WORKING TEMPERATURE: -40 +80°C
-60 V LOAD DUMP PROTECTED
-OUTPUT SHORT CIRCUIT PROTECTED
-REVERSE VOLTAGE PROTECTED
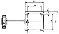
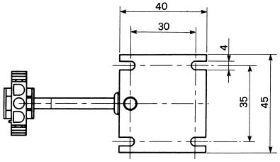
-PROTECTION INDEX: IP66 (CONNECTOR NOT ENCLUDED)





