![]()
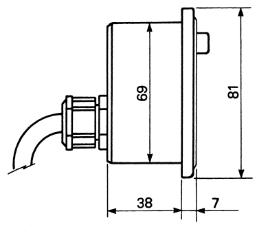
CHECK CONTROL PANELG
-PROTECTION AGAINST WATER AND
DUST IP67
-WORKING TEMPERATURE -40°C ÷ 105°C -FEEDING VOLTAGE 12 V dc O 24 V dc
-SENDERS RELEASE TYPE - PROTECTION AGAINST POLARITY REVERSAL ON FEEDING VOLTAGE
- PROTECTION AGAINST POSSIBLE ELECTROMAGNETIC DISTURBANCES IN THE MACHINE - BULB
ACCORDING TO C. MOS. LOGIC, WITH VERY LOW EXPENDITURE











