![]()
FUEL BRAKES, OIL LEVEL INDICATOR AND TANK
FUEL LEVEL INDICATORS WITH NYLON FLANGE TO COUPLED
| PIPE n 0 | WIRING DIAGRAM | HMICO VALUE TABLES | FIXING HOLE |
![]() |
![]() |
![]() |
Ø
|
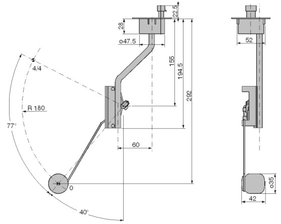
| P/N | DIMENSIONS | TECHNICAL CHARACTERISTIC | |
| 29.277.000 | ![]() ![]() |
![]() |
![]() |
![]() |
|||
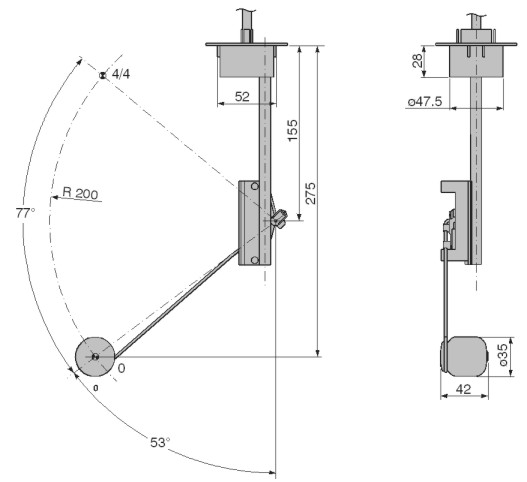
| 29.278.000 | ![]() ![]() |
![]() |
![]() |
![]() |
|||
| 29.277.000 + 29.278.000 |
COUPLED |
![]() |
![]() |
![]() |
|||
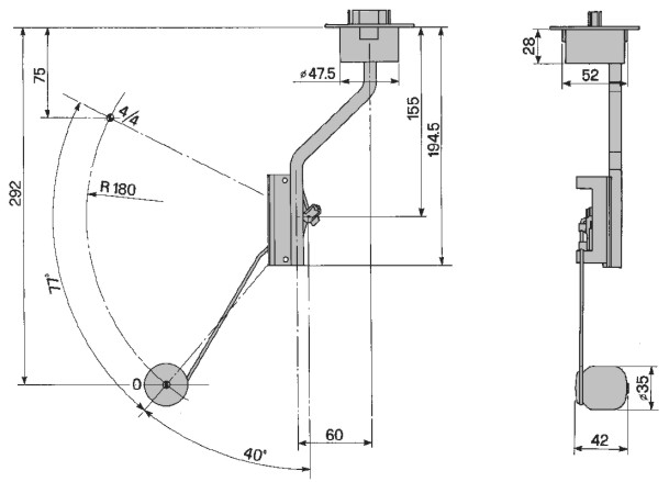
| 29.383.000 | ![]() ![]() |
![]() |
![]() |
![]() |
|||
| 29.384.000 | ![]() ![]() |
![]() |
![]() |
![]() |
|||
| 29.383.000 + 29.384.000 |
COUPLED |
![]() |
![]() |
![]() |
|||













