| PIPE n 3 | WIRING DIAGRAM | HMICO VALUE TABLES | FIXING HOLE |
![]() |
![]() |
![]() |
![]() |
| P/N | DIMENSIONS | TECHNICAL CHARACTERISTIC | |
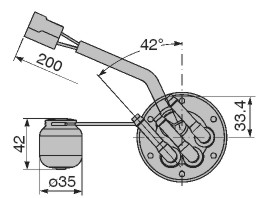
| 29.373.000 |
![]() |
![]() |
![]() |
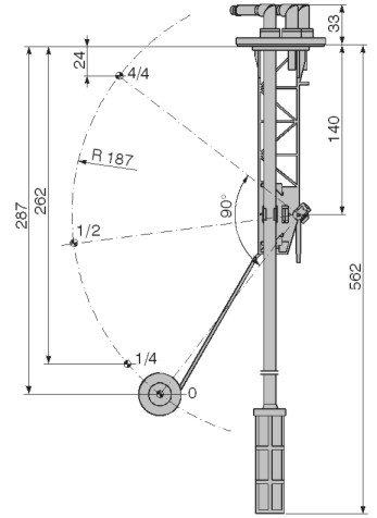
| 29.120.000 |
![]() |
![]() |
|
| 29.167.000 |
![]() |
![]() |
![]() |
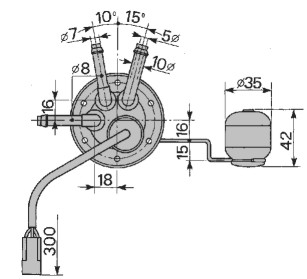
| 29.111.000 | Ø
|
![]() |
![]() |
| 29.119.000 |
![]() |
![]() |
![]() |
| 29.375.000 |
![]() |
![]() |
![]() |
| 29.0502.0000 |
![]() |
![]() |
![]() |
| 29.0447.0000 |
![]() |
![]() |
![]() |























