Menü
COBO Group - Deutschland
Katalog-Index
|
Neuheiten
|
Buhr Industrieberatung und -vertrieb GmbH
|
Kontakt
|
Impressum
Kategorien
Lichtschalter / Lenkstockschalter etc.
Rückleuchten /Nummernschildbeleuchtung
Frontscheinwerfer
Zweikammerleuchten
Seitenmarkierungsleuchten
Kombileuchten
Arbeitsscheinwerfer
Reflektoren
Stossstangen mit Beleuchtung
Handleuchten
Warnleuchten
Innenraumleuchten
Zündschlösser
Batterieschalter
Kippschalter
Relais
Inverter
Converter
Summer
elektronische Regler
Sensoren
elektronisches Zubehör
Sicherungskästen
Steckverbindungen
Massekabel
Tankgeber
Sirenen
Rundumleuchten
Instrumente
Kontrollanzeigen
Lenkräder
Sitze
Lenksäuleneinheiten
Lenksäulen
Erklärungen Symbole
Erklärungen Teilenummern
Katalog-Index
»
Zündschlösser
»
KEY IGNITION SWITCHES SLIDING CONTACTS
KEY IGNITION SWITCHES SLIDING CONTACTS
EXTRACTABLE KEY ONLY IN THE POSITION 0
TABLE FOR CODE
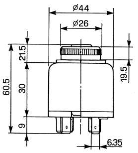
FIXING OPTIONS
14.126.200
14.109.500
14.109.001
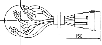
WIRING DIAGRAM
CONNECTION BOARD
KEY POSITION
CONNECTION
CURRENT MAX 12V
MAX CONNECTION TIME
FUNCTION
0
-
-
-
-
1
30 - 15
25 A
SPEED
P
30 - 15
30 - 19
25 A
20 A
1 Min.
SPEED / PREHEATING
2
30 - 15
30 - 17
30 - 50
25 A
20 A
35 A
1 Min.
1 Min.
SPEED / START