![]()
240 series STEERING COLUMN LOCKING
SWITCH + FORWARD-REVERSE SHIFTER WITH MICROSWITCH + SPEED DEVICE
-INTERIOR/EXTERIOR LIGHTS IGNITION: TURNING LEVER KNOB
-INTERIOR LEVER: METALLIC
-LEVER COVERING: POLYAMIDE + FUNCTION SYMBOLS
-CAP: BLACK NEOPRENE RUBBER
-PROTECTION CONTAINER: BLACK ALUMINIUM ALLOY
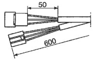
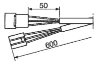
-CONNECTION CABLE: SUITABLE WITH DIFFERENT KINDS OF CONNECTION
-ELECTRICAL CONTACTS: WITH MICROSWITCH
-SETTING: DESIGNED FOR STEERING COLUMN OF DIFFERENT DIAMETERS
| FUNCTION | PEAK LOAD 12 V | PEAK LOAD 24 V |
|
|
5 A | 3 A |
|
|
6,5 A | 4,5 A |
|
|
7 A | 5 A |
|
|
7 A | 5 A |
|
|
7 A | 5 A |
|
|
5 A | 3 A |
|
|
2 A | 1 A |
|
|
2 A | 1 A |
|
|
2 A | 1 A |
|
|
2 A | 1 A |
|
|
2 A | 1 A |
|
|
||||||||||||||
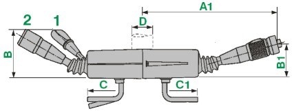
| P/N | A | B | C |
|
FUNCTION | D |
FUNCTION | A1 | B1 | C1 |
![]() SPARE PART |
|||
| 01.384.000 |
90,4 |
01.384.600 | 1 |
Ø 45 |
|
260 | 65 | ![]() |
01.381.500 | |||||
|
|
||||||||||||||
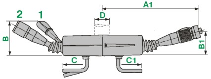
| P/N | A | B | C |
|
FUNCTION | D |
FUNCTION | A1 | B1 | C1 |
![]() SPARE PART |
|||
| 01.382.000 |
90,4 |
![]() |
01.382.600 | 1 2 |
Ø 45 |
|
260 | 65 | ![]() |
01.381.500 | ||||
|
|
||||||||||||||
| P/N | A | B | C |
|
FUNCTION | D |
FUNCTION | A1 | B1 | C1 |
![]() SPARE PART |
|||
| 01.381.000 |
90,4 |
![]() |
01.381.600 | 1 2 |
Ø 45 |
|
260 | 65 | ![]() |
01.381.500 | ||||





C
C1




C






