![]()
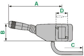
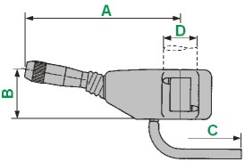
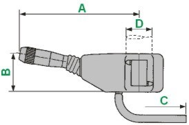
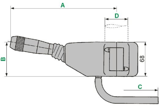
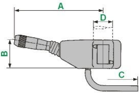
203 series STEERING COLUMN LOCKING
FORWARD-REVERSE-SLOW-FAST SHIFTER
-INTERIOR LEVER: METALLIC
-KNOB LEVER: POLYAMIDE+FUNCTION SYMBOLS
-CAP: BLACK NEOPRENE RUBBER
-PROTECTION CONTAINER: BLACK ALUMINIUM ALLOY
-CONNECTION CABLE: SUITABLE WITH DIFFERENT KINDS OF CONNECTION
-ELECTRICAL CONTACTS: OPEN AIR
-FUNCTION SUITABLE ONLY IN SAME MODELS: REVERSING BACK UP ALARM LIGHT IGNITION





C










