![]()
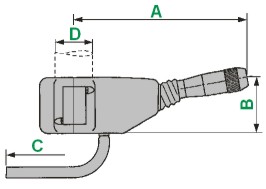
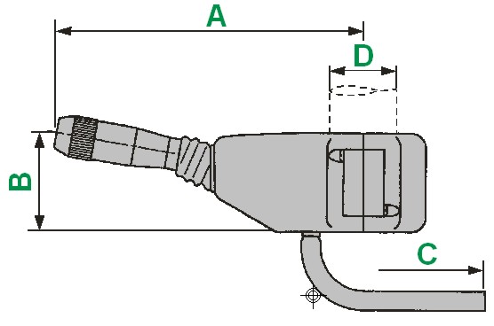
190 series STEERING COLUMN LOCKING LIGHT CONTROL SWITCH
-INTERIOR-EXTERIOR LIGHTS IGNITION: TURNING KNOB LEVER
-INTERIOR LEVER: METALLIC
-LEVER COVERING: POLYAMIDE+FUNCTION SYMBOLS
-CAP: BLACK NEOPRENE RUBBER
-PROTECTION CONTAINER: BLACK ALUMINIUM ALLOY
-CONNECTION CABLE: SUITABLE WITH DIFFERENT KINDS OF CONNECTION





C








